苏翊鸣:本届冬奥经历满分,希望向徐梦桃、王心迪等前辈继续学习
徐梦桃晒两枚奥运奖牌:感谢大家对我的支持和鼓励
宁忠岩直播晒金牌:主要是想给大家展示金牌,对我来说非常有意义
吴易昺横扫对手晋级墨西哥电信公开赛资格赛决胜轮,将战土方凛辉
冬奥奖牌榜:中国4金3银6铜第12!今日谷爱凌等4人携手决赛冲金
赵心童赛后英语采访:只想在比赛中打出自己风格 会努力保持下去

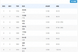
体育资讯11月17日讯 全运会田径女子400米栏决赛,莫家蝶以55秒19的成绩夺得金牌,孔莹蓥获得银牌,欧莹获得铜牌。
女子400米栏决赛成绩详情如下:
1 莫家蝶 55.19
2 孔莹蓥 56.10
3 欧莹 57.29(PB)
4 邹亦凡 57.46(SB)
5 丁依蕊 59.14
6 陆长薇 59.22
7 刘薇 59.34
8 王久香 1:02.16